Trên Honda CR-V 2019, hệ thống Ibooster – trợ lực phanh điện được ứng dụng nhằm thay thế trợ lực chân không truyền thống. Công nghệ này không chỉ cải thiện hiệu quả phanh mà còn mang lại sự ổn định, an toàn và cảm giác lái mượt mà hơn cho người dùng. Cùng trung tâm VATC tìm hiểu chi tiết về nguyên lý và ưu điểm vượt trội của Ibooster trong bài viết này.
1. Trợ lực phanh điện
Bộ trợ lực phanh bằng điện bao gồm:
- Motor điện không chổi than (the brushless motor).
- Hộp điều khiển (control Unit).
- Các bánh răng (gear Unit).
- Cảm biến vị trí motor (motor angle Sensor).
- Cảm biến vị trí bàn đạp chân phanh (brake pedal stroke sensor).
- Xylanh chính (master cylinder).
2. Cảm biến vị trí chân phanh
Cảm biến vị trí bàn đạp chân phanh được đặt bên trong cụm trợ lực phanh điện (ibooster). Cảm biến hành trình chân phanh phát hiện mức độ, lực đạp chân phanh và đưa ra hai tín hiệu điện áp đầu ra dựa trên hành trình đạp phanh.
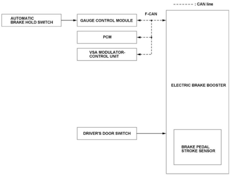
3. Mô tả hệ thống trợ lực phanh điện – Sơ đồ hệ thống
Sơ đồ hệ thống bên dưới cho biết tín hiệu đầu vào, đầu ra của bộ trợ lực phanh điện.
- Bộ phanh trợ lực điện – Electric Brake Booster.
- Hộp điều khiển đồng hồ taplo – Gauge Control Module.
- Hộp điều khiển động cơ – PCM.
- Hộp điều khiển cân bằng điện tử VSA, Công tắc Auto Hold.
- Công tắc báo đóng cửa.
F-CAN Communication Data
Electric Brake Booster System nhận tín hiệu
| Hộp truyền | Tín hiệu |
| PCM | Tín hiệu tốc độ động cơ
Tín hiệu trạng thái hoạt động của hệ thống |
| Hộp truyền | Tín hiệu |
| VSA module | Áp dầu của xy-lanh chính
Tín hiệu tốc độ bánh xe Tín hiệu chức năng Auto Hold (tự động giữ phanh) Áp suất dầu phanh mong muốn Tín hiệu trạng thái hoạt động của hệ thống Thông tin hệ thống bị lỗi |
Electric Brake Booster System truyền tín hiệu
| Hộp truyền | Tín hiệu |
| Electric Brake Booster | Lỗi tín hiệu yêu cầu trợ lực thủy lực
Tín hiệu cảnh báo Tín hiệu hoạt động của hệ thống Thông tin hệ thống bị lỗi |
4. Mô tả hoạt động của hệ thống trợ lực phanh điện
4.1 Tổng quan
Hệ thống trợ lực điện này sử dụng cơ cấu cơ điện để hỗ trợ lực phanh thay thế cho bầu trợ lực chân không ở thế hệ trước đó.
Hệ thống cung cấp sự ổn định và hiệu suất tốt khi phanh và không phụ thuộc vào nguồn chân không. Bộ trợ lực phanh điện này bao gồm các thành phần chính như sau:
- Bộ trợ lực phanh điện.
- Cảm biến vị trí chân phanh.
- Hệ thống cảnh báo.
4.2 Cấu trúc hệ thống
Bộ trợ lực phanh điện bao gồm: bộ phận servo, bộ phận điều khiển servo, và bộ phận xy lanh chính.
Bộ phận servo bao gồm mô tơ điện, bộ bánh răng, ống trợ lực (Boost Body). Lực trợ lực được tạo ra bới mô tơ điện truyền lực cho ống trợ lực thông qua bộ bánh răng. Ống trợ lực này sẽ hỗ trợ đẩy Piston bên trong xy lanh chính thông qua đĩa phản ứng (reaction disc).
Bộ phận điều khiển servo bao gồm hộp điều khiển trợ lực phanh điện, cảm biến góc quay motor, cảm biến hành trình chân phanh. Hộp điều khiển sẽ tính toán vị trí của ống trợ lực dựa trên tín hiệu của cảm biến góc quay mô tơ, vị trí của piston chính trong xylanh phanh (Plunger) thì được tính dựa trên tín hiệu của cảm biến hành trình chân phanh.
Xy lanh phanh chính thì giống với một xy lanh chính trong hệ thống trợ lực phanh sử dụng bầu chân không thông thường.
4.3 Hoạt động của bộ servo
Khi người lái đạp phanh, piston trong xylanh chính sẽ bị đẩy bởi lực đạp của người lái thông qua cơ cấu bàn đạp chân phanh và Ống đẩy (plunger), đĩa phản ứng (reaction disc),…
Ống đẩy (plunger) sẽ di chuyển, tuy nhiên ống trợ lực (boost body) vẫn chưa di chuyển vì motor chưa được kích hoạt. Kết quả thì vị trí của ống đẩy (plunger) và ống trợ lực (boost body) sẽ bị lệch nhau.
Hộp điều khiển sẽ dựa vào độ lệch này để kích hoạt motor tạo ra lực hỗ trợ. Lực từ motor sẽ truyền qua bộ bánh răng (gear unit) sau đó đến ống trợ lực Boost Body, lực tiếp tục truyền qua đĩa phản ứng và sẽ đẩy piston của xylanh chính.
Trên là những thông tin về Ibooster – Trợ lực phanh điện trên xe Honda CR-V 2019 mà trung tâm VATC muốn gửi đến. Chúc các bạn có được một kiến thức thú vị và có thể áp dụng vào thực tiễn.
Nếu bạn có đang đam mê hoặc muốn tìm hiểu về các khóa học trong ngành ô tô thì liên hệ ngay với trung tâm VATC theo thông tin dưới đây để được tư vấn chi tiết nhất nhé!
Trung Tâm Huấn Luyện Kỹ Thuật Ô Tô Việt Nam – VATC
- Địa chỉ: Số 4-6, Đường số 4, Phường Hiệp Bình Phước, Thành Phố Thủ Đức, Thành phố Hồ Chí Minh
- Điện thoại: 0945711717
- Email: info@oto.edu.vn
Xem thêm:
Hoặc để lại thông tin qua form dưới đây, bộ phận tuyển sinh tại VATC sẽ liên hệ để tư vấn miễn phí cho bạn!






